Chụp X quang là một kỹ thuật rất phổ biến trong chẩn đoán hình ảnh y tế. Ngoài những lợi ích do kỹ thuật chụp X quang mang lại thì nó cũng tiềm ẩn nhiều nguy cơ gây ảnh hưởng tới sức khỏe của bệnh nhân chụp và chính bản thân các bác sỹ, kỹ thuật viên trực tiếp thực hiện. Nhằm hạn chế tác hại của tia X, máy X quang cần thiết phải được lắp đặt trong phòng đảm bảo các tiêu chuẩn an toàn bức xạ.

Dưới đây là một số hướng dẫn tiêu chuẩn thiết kế và xây dựng phòng X quang :
1/ PHÒNG LẮP ĐẶT MÁY X-QUANG CHỤP TỔNG HỢP CAO TẦN RAY SÀN – TƯỜNG:
Bệnh viện chỉnh sửa hoặc xây mới phòng lắp đặt máy theo tiêu chuẩn dưới đây:

Kích thước phòng đặt máy tối thiểu là: 4,5m x 4,0m x 3,0m (dài x rộng x cao)

1.1 Sàn của “phòng đặt máy”:
Sàn của “Phòng đặt máy” nên được đổ bê tông dày khoảng 100mm, phía trên lát gạch men bằng phẳng với độ dốc của sàn +/-00.
Sàn của Phòng điều khiển nên được lát gạch men để thuận tiện trong quá trình vệ sinh.
1.2 Tủ điện:
Bảng điện gồm các thành phần sau:
+ Áp tô mát: Yêu cầu loại áp tô mát 3 pha với dòng cắt 100A.
+ Cáp điện 3 pha ( 4 dây lõi đồng), tuỳ theo chiều dài từ trạm biến áp (hoặc cột điện chính) vào Tủ điện mà chọn dây có tiết diện mỗi lõi theo bảng dưới đây.
Chiều dài dây tải điện từ Bình hạ thế hoặc Cột điện chính tới Tủ điện- 10 20 30 40 50 60 70 80 90 100
Tiết diện cắt ngang mỗi lõi dây A(mm2) 8 14 22 30 30 38 50 50 60 60
+ Dây tiếp đất : Yêu cầu dây có tiết diện lớn hơn hoặc bằng 22mm2 và điện trở của dây tiếp đất nhỏ hơn 10 Ôm (Ohm).
+ Nguồn điện cung cấp là 3 pha 380 V, điện áp nên ổn định. Biên độ dao động cho phép là +/-5% ( pha – pha). Trong trường hợp cần thiết- phải kéo trực tiếp từ bình hạ thế vào phòng lắp máy.
1.3 Yêu cầu về điều hòa và hút ẩm cho phòng đặt máy và phòng điều khiển:
+ Điều hoà không khí (Nên trang bị loại 2 Cục với công suất 18.000BTU cho phòng đặt máy và 9000BTU cho phòng điều khiển) đảm bảo nhiệt độ phòng trong khoảng 23-26 độ C.
+ Có máy hút ẩm đảm bảo không khí trong phòng có độ ẩm từ 30% đến 70% nhằm đảm bảo hoạt động tốt của máy (Nên trang bị cho mỗi phòng một hút ẩm công suất 12lít/1ngày).
+ Máy đo nhiệt độ và độ ẩm: Nhằm kiểm tra nhiệt độ và độ ẩm trong phòng điều khiển và phòng chụp.
+ Quạt thông gió: Tại các góc trên của phòng đặt máy và phòng điều khiển, nên gắn thêm 01 quạt hút gió để lưu thông không khí.
KHUNG KÍNH CHÌ:
+ Nên sử dụng loại kính chì có kích thước 80cm x60cm (rộng x cao) để đảm bảo tầm nhìn cho người vận hành máy.
+ Giả sử kính chì có kích thước 80cm x 60 cm bề dày khoảng 1cm . Khi đó, yêu cầu làm khung kính chì theo chỉ dẫn sau. ( Đối với 80cm x 60 cm)
Cách làm khung kính chì: Mép dưới của khung kính chì kính chì cách mặt đất một khoảng 100 cm .

Hệ thống an toàn phóng xạ:
+ Phòng đã được trát Barit 3cm, hoặc ốp cao su chì .
+ Các cánh cửa ra vào, cửa thông giữa phòng đặt bàn máy và phòng điều khiển phải ốp chì lá có độ dầy 3mm (Hai mặt).
+ Cửa sổ quan sát phòng chụp bằng kính chì.
+ Có chứng chỉ an toàn bức xạ do cơ quan có chức năng cấp.
Định mức cho 1m2 Barit trát dày 3cm bao gồm:
Xi măng PC-30 : 9 Kg.
Cát vàng : 30 Kg.
Bột Barit cản xạ : 30 Kg.
Phụ gia cản xạ : 1 Kg.
Trát làm 2 lớp, mỗi lớp dày 1,5cm.
2/ PHÒNG LẮP ĐẶT MÁY X-QUANG CHỤP TỔNG HỢP CAO TẦN CỘT BÓNG TREO TRẦN:

Diện tích phòng tối thiểu yêu cầu:
– “Phòng đặt máy”: Dài 4,5m x Rộng 4m.
– “Phòng điều khiển”: Dài 4,5m x Rộng 2m

Chú thích:
– Cửa 1 cao 2200mm x rộng 1400mm.
– Cửa 2 cao 2200mm x rộng 900mm.
– Cửa 3 cao 2200mm x rộng 800mm.
– Kính chì đặt cách sàn 1000mm.
2.1 Sàn của “Phòng đặt máy”:
Sàn của “Phòng đặt máy” nên được đổ bê tông dày khoảng 100mm, phía trên lát gạch men bằng phẳng với độ dốc của sàn +/-00.
Sàn của “Phòng điều khiển” nên được lát gạch men để thuận tiện trong quá trình vệ sinh.
2.2 Tủ điện:
Tủ điện gồm các thành phần sau:
+ Áp tô mát: Yêu cầu loại áp tô mát 3 với dòng cắt100A.
+ Cáp điện 3 pha ( 4 dây lõi đồng), tuỳ theo chiều dài từ Bình hạ thế(hoặc cột điện chính) vào Tủ điện mà chọn dây có tiết diện mỗi lõi theo bảng dưới đây.
+ Dây tiếp đất : Yêu cầu dây có tiết diện lớn hơn hoặc bằng 22mm2 và điện trở của hố tiếp mát phải nhỏ hơn 10 Ôm (Ohm).
+ Nguồn điện cung cấp là 3 pha 380 V, điện áp nên ổn định. Biên độ dao động cho phép là +/-5% ( pha – pha). Trong trường hợp cần thiết- phải kéo trực tiếp từ bình hạ thế vào phòng lắp máy.
2.3 Yêu cầu về 02 ray trần
– Làm 02 ray để treo máy xuyên suốt chiều dọc “Phòng đặt máy”, cách sàn “Phòng đặt máy” tối thiểu 3m và cách trần trên tối thiểu 20cm
– Khoảng cách từ tâm ray này tới tâm ray kia là1,25m. Hai ray phải cân bằng để tránh tình trạng máy trôi tự nhiên.
– Hai ray phải có khả năng chịu lực treo tối thiểu 300kg.
– Hai ray có dạng hình chữ C có kích thước cao 15cm x rộng 10cm
2.4 Yêu cầu về điều hòa và hút ẩm cho phòng đặt máy và phòng điều khiển:
+ Điều hoà không khí (Nên trang bị loại 2 Cục với công suất 18.000BTU cho phòng đặt máy và 9000BTU cho phòng điều khiển) đảm bảo nhiệt độ phòng trong khoảng 23-26 độ C.
+ Có máy hút ẩm đảm bảo không khí trong phòng có độ ẩm từ 30% đến 70% nhằm đảm bảo hoạt động tốt của máy (Nên trang bị cho mỗi phòng một hút ẩm công suất 12lít/1ngày).
+ Máy đo nhiệt độ và độ ẩm: Nhằm kiểm tra nhiệt độ và độ ẩm trong phòng điều khiển và phòng chụp.
+ Quạt thông gió: Tại các góc trên của phòng đặt máy và phòng điều khiển, nên gắn thêm 01 quạt hút gió để lưu thông không khí.
KHUNG KÍNH CHÌ:
+ Nên sử dụng loại kính chì được sản xuất bởi Nhật Bản, có kích thước rộng 120cm x cao 80cm để đảm bảo chất lượng và tầm nhìn cho người vận hành máy.
+ Giả sử kính chì có kích thước 120cm x 80 cm bề dày khoảng 1cm . Khi đó, yêu cầu làm khung kính chì theo chỉ dẫn sau.
Cách làm khung kính chì: Mép dưới của khung kính chì kính chì cách mặt đất một khoảng 100 cm .

Hệ thống an toàn phóng xạ:
+ Phòng đã được trát Barit 3cm, hoặc ốp cao su chì .
+ Các cánh cửa ra vào, cửa thông giữa phòng đặt bàn máy và phòng điều khiển phải ốp chì lá có độ dầy 3mm (Hai mặt).
+ Cửa sổ quan sát phòng chụp bằng kính chì.
+ Có chứng chỉ an toàn bức xạ do cơ quan có chức năng cấp.
Định mức cho 1m2 Barit trát dày 3cm bao gồm:
Xi măng PC-30 : 9 Kg.
Cát vàng : 30 Kg.
Bột Barit cản xạ : 30 Kg.
Phụ gia cản xạ : 1 Kg.
Trát làm 2 lớp, mỗi lớp dày 1,5cm.
3/ PHÒNG LẮP ĐẶT MÁY X-QUANG TĂNG SÁNG TRUYỀN HÌNH:


Chú thích:
– Cửa 1 cao 2,2m x rộng 1,4m.
– Cửa 2 cao 2,2m x rộng 0,9m.
– Cửa 3 cao 2,2m x rộng 0,7m.
– Kính chì đặt cách sàn của “Phòng điều khiển” 1m
3.1 Sàn của “Phòng đặt máy”:
Sàn của “Phòng đặt máy” nên được đổ bê tông dày khoảng 100mm, phía trên lát gạch men bằng phẳng với độ dốc của sàn +/-00.
Sàn của “Phòng điều khiển” nên được lát gạch men để thuận tiện trong quá trình vệ sinh.
3.2 Tủ điện:
Tủ điện gồm các thành phần sau:
+ Áp tô mát: Yêu cầu loại áp tô mát 3 với dòng cắt100A.
+ Cáp điện 3 pha ( 4 dây lõi đồng), tuỳ theo chiều dài từ Bình hạ thế(hoặc cột điện chính) vào Tủ điện mà chọn dây có tiết diện mỗi lõi theo bảng dưới đây.

+ Dây tiếp đất : Yêu cầu dây có tiết diện lớn hơn hoặc bằng 22mm2 và điện trở của hố tiếp mát phải nhỏ hơn 10 Ôm (Ohm).
+ Nguồn điện cung cấp là 3 pha 380 V, điện áp nên ổn định. Biên độ dao động cho phép là +/-5% ( pha – pha). Trong trường hợp cần thiết- phải kéo trực tiếp từ bình hạ thế vào phòng lắp máy.
3.3 Yêu cầu về điều hòa và hút ẩm cho phòng đặt máy và phòng điều khiển:
+ Điều hoà không khí (Nên trang bị loại 2 Cục với công suất 18.000BTU cho “Phòng đặt máy” và 9000BTU cho “Phòng điều khiển”) đảm bảo nhiệt độ phòng trong khoảng 23-26 độ C.
+ Có máy hút ẩm đảm bảo không khí trong phòng có độ ẩm từ 30% đến 70% nhằm đảm bảo hoạt động tốt của máy (Nên trang bị cho mỗi phòng một hút ẩm công suất 12lít/1ngày).
+ Máy đo nhiệt độ và độ ẩm: Nhằm kiểm tra nhiệt độ và độ ẩm trong phòng điều khiển và phòng chụp.
+ Quạt thông gió: Tại các góc trên của “Phòng đặt máy” và “Phòng điều khiển”, nên gắn thêm 01 quạt thông gió để lưu thông không khí.
KHUNG KÍNH CHÌ:
+ Nên sử dụng loại kính chì được sản xuất bởi Nhật Bản, có kích thước rộng 120cm x cao 80cm để đảm bảo chất lượng và tầm nhìn cho người vận hành máy.
+ Giả sử kính chì có kích thước 120cm x 80 cm bề dày khoảng 1cm . Khi đó, yêu cầu làm khung kính chì theo chỉ dẫn sau.
Cách làm khung kính chì: Mép dưới của khung kính chì kính chì cách mặt đất một khoảng 100 cm .

Hệ thống an toàn phóng xạ:
+ Phòng đã được trát Barit 3cm, hoặc ốp cao su chì .
+ Các cánh cửa ra vào, cửa thông giữa phòng đặt bàn máy và phòng điều khiển phải ốp chì lá có độ dầy 3mm (Hai mặt).
+ Cửa sổ quan sát phòng chụp bằng kính chì.
+ Có chứng chỉ an toàn bức xạ do cơ quan có chức năng cấp.
Định mức cho 1m2 Barit trát dày 3cm bao gồm:
Xi măng PC-30 : 9 Kg.
Cát vàng : 30 Kg.
Bột Barit cản xạ : 30 Kg.
Phụ gia cản xạ : 1 Kg.
Trát làm 2 lớp, mỗi lớp dày 1,5cm.
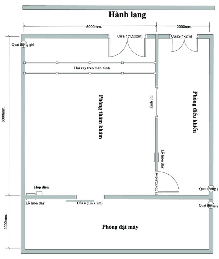
4/ PHÒNG LẮP ĐẶT CHỤP MẠCH (ANGIO GRAPHY):
Diện tích phòng tối thiểu yêu cầu:
– “Phòng đặt máy”: Dài 7m x Rộng 2m
– “Phòng điều khiển”: Dài 6m x Rộng 2m
– “Phòng thăm khám”: Dài 6m x Rộng 5m

Các yêu cầu:
4.1 Phòng lắp đặt gồm:
– Phòng điều khiển, Phòng đặt máy và Phòng thăm khám với vị trí được bố trí như hình vẽ trên
4.2 Cửa phòng:
– Cửa C1: Rộng 1,5m x Cao 2m.
– Cửa C2: Rộng 1m x Cao 2m.
– Cửa C3: Rộng 0,8mm x Cao 2m.
– Cửa C4: Rộng 1m x Cao 2m(dạng cửa kéo)
– Trừ cửa C4 các cửa còn lại phải được ốp chì lá để đảm bảo về an toàn phóng xạ.
4.3 Tường bao quanh Phòng thăm khám.
– Toàn bộ tường bao quanh “Phòng thăm khám” phải được ốp chì lá hoặc trát barít chì để đảm bảo về an toàn phóng xạ.
4.4 Nền “Phòng thăm khám”:
– Toàn bộ diện tích nền “Phòng thăm khám” phải được đổ bê tông dầy ≥15cm và dàn phẳng, để đảm bảo khả năng chịu lực tốt.
4.5 Khung kính chì:
– Đục sẵn khung kính chì có kích thước: Rộng 1210mm x Cao 910 mm, cách sàn 1m(Nếu khách hàng sử dụng kính chì 1,2m x 0,9m).
4.6 Hệ thống điều hoà: Sẽ được tư vấn và thiết kế riêng tưng dự án
4.7 Hệ thống “Ray treo màn hình” (6):
– Hệ thống Ray treo màn hình gồm 2 ray hình chữ U, kích thước 100mm x50mm, vị trí đặt như hình vẽ. Mặt trên của 2 ray cách mặt trần bê tông 500mm, được căn chỉnh bằng, tâm ray này cách tâm ray kia một khoảng cách L- Phụ thuộc vào khách hàng đặt ray loại nào. Khả năng chịu lực tối thiểu là 150kg.
4.8 Lỗ đi dây :
– “Lỗ đi dây” đi xuyên qua tường ngăn giữa Phòng thăm khám và Phòng đặt máy, đặt ở vị trí như hình vẽ. Mép dưới của Lỗ đi dây này cách mặt trần bê tông 500mm và có kích thước: Rộng 400mm x Cao 100mm.
4.9 Trần thạch cao.
– Trần thạch cao và các đầu ra của hệ thống điều hoà âm trần được làm cách mặt trần bê tông 500mm.
4.10 Tủ điện nguồn:
– Tủ điện nguồn được bố trí trong “Phòng thăm khám, ở vị trí như hình vẽ và cách mặt sàn khoảng 1500mm.
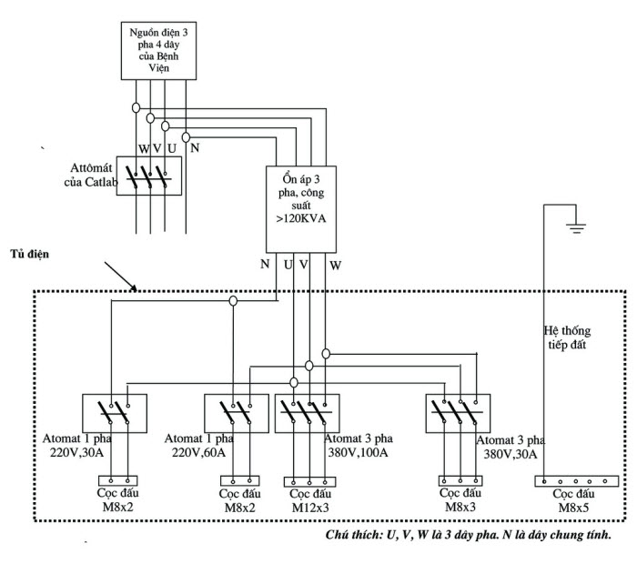
– Sơ đồ điện được thiết kế như sau:

– Ổn áp 3 pha yêu cầu công suất 120KVA trở lên.
– Công suất tiêu thụ của hệ thống khoảng 110KVA. Do vậy đề nghị khách hàng đầu tư loại dây cáp đồng nguyên chất(3 pha 4 dây) với tiết diện cắt ngang mỗi lõi là 100mm2.
– Điện cho hệ thống máy sẽ được lấy trực tiếp từ Bình hạ áp của Bệnh viện, qua ổn áp 3 pha 120KVA sau đó đưa đến Tủ điệncủa máy. Cách thiết kế Tủ điện như hình vẽ.
4.11 Lắp hệ thống internet tốc độ cao (ADSL) tới tận Phòng điều khiển.
4.12 Hố tiếp đất và dây đất:
– Hố tiếp địa có kích thước rộng 1000mm x dài 1000mm x sâu 1200mm, cách làm hố tiếp địa như sau:
Đặt tấm đồng đỏ kích thước 400mm x 400mm, dầy 5mm->10mm, có hàn dây dẫn bằng đồng nhiều sợi tiết diện 100mm2, dài 1400mm(một đầu dây để nhô lên mặt đất). Đổ 50kg than cám phủ lên tấm đồng, tiếp theo là 50kg muối ăn, sau đó lấp đất đầy hố.
– Dây tiếp đất phải được kéo và đấu sẵn vào cọc tiếp đất M8x5 của Tủ điện 8.
– Trở kháng hố tiếp đất phải đạt ≤ 10 Ôm.
Lưu ý :
Tường trước khi chat Barit là tường nguyên chưa chat. Tường sẽ được chat dày tối thiểu 3cm (nếu được 5cm thì sẽ tốt hơn)
Định mức cho 1m2 Barit trát dày 3cm bao gồm:
Xi măng PC-30 : 9 Kg.
Cát vàng : 30 Kg.
Bột Barit cản xạ : 30 Kg.
Phụ gia cản xạ : 1 Kg.
Trát làm 2 lớp, mỗi lớp dày 1,5cm.
1/Chát thử trước 1m2 và khi trát làm 2 lớp, mỗi lớp dày 1,5cm. Nếu tỷ lệ pha trộn ở trên mà thiếu thì tăng thêm cát, thừa thì bớt cát đi.
2/ Đo diện tích một mặt tường xem bao nhiêu m2 để pha trộn cho đủ và khi đã pha trộn xong thì phải sử dụng cho hết luôn cả một bức tường.
2.1 Đầu tiên ta chát 1 lớp dày 1,5cm trước (pha vữa hơi loãng vì Barit chì khô rất nhanh) và cố gắng chát càng nhanh càng tốt và phải dứt điểm cả 1 vách của phòng.
Vì Barit rất nhanh khô và khô không đều nên thợ sẽ xem chỗ nào khô trước thì xịt nước để trách tình trạng nứt chân chim ở tường (sau này tia X sẽ lọt qua đấy và tường không chắc chắn)
==> Để tường khô đều mới chát lớp thứ 2, không chát vội lớp thứ 2 vì vữa Barit rất nặng dễ dẫn đến sụp cả bức tường.
2.2. Sau khi lớp 1 đã khô đều ta chát lớp thứ 2 tương tự chát lớp thứ nhất. (Nếu có điều kiện về kinh tế : nên đóng thêm trước khi chát bằng lưới mắt trâu để đảm bảo độ chắc chắn và giữ cho lớp thứ 2 không bi rơi xuống)
3/ Với phía trên trần : có 2 cách
3.1/ cách dễ dàng nhất là ốp chì lá lên trần sau đấy làm trần thạch cao (Giá thành sẽ đắt)
3.2/ đổ một lớp vữa Barit chì khoảng 5cm ở sàn nhà tầng trên phòng lắp máy X-Quang
4/ Sàn phòng lắp đặt : đào sâu xuống dưới toàn bộ sàn lắp và đổ Bê tông dày ít nhất 15cm và phẳng hoàn toàn để tránh lún và nghiêng máy.
5/ Cửa :
5.1/ Nếu là cửa lùa : nên làm ray treo phía trên sẽ nhẹ hơn : Ốp 2 mặt cửa mỗi mặt 1,5mm chì lá và kín chì hoàn toàn, những chỗ bắt ốc thì phủ lên đầu tán 1 lớp chì tương đương 1,5mm chì lá
Cửa cánh đóng mở thẩm mỹ sẽ đẹp hơn, nhẹ hơn, dễ đóng mở hơn nhưng giá đắt hơn.
